SUMMIT Parts Manual
Click here to see this page in full context
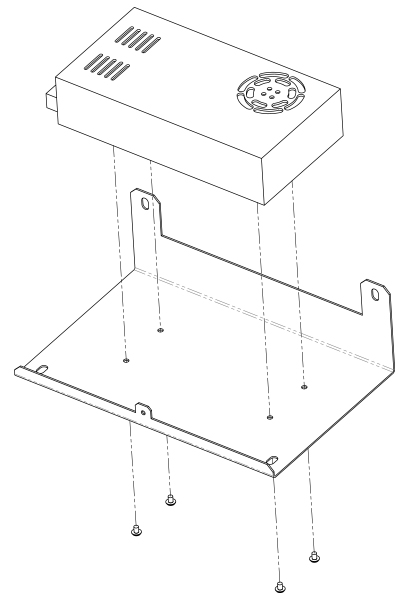
34403 Power Input, Assembly